一、用途與特點
氣動調節閥利用被調介質本身壓力變化而實現自動調節,整機具有動作靈敏、控制壓力波動小、節約能源的特點。
有泄壓閥前壓力調節型、減壓用閥后壓力調節型和差壓調節型三大類,壓力分段范圍5~25000KPa,配用不同的檢測執行機構,廣泛應用于蒸汽、各種氣體及液體減壓穩壓或泄壓穩壓的自動控制。
二、結構與原理
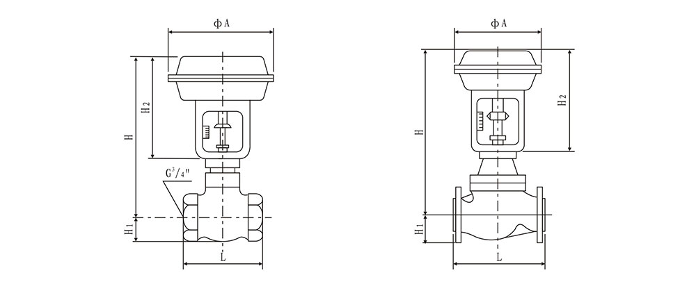
氣動調節閥由閥體、執行機構及導壓部件組成,
1.閥體 2.閥座 3.閥芯閥桿 4.閥蓋 5.填料 6.調節彈簧 7.執行機構 8.套筒 9.套筒閥芯 10.取壓管
工作原理:
設定點壓力通過導壓管傳遞到執行機構,使執行機構動作并與彈簧建立一個動態平衡,當設定點壓力發生了改變時,平衡被破壞,彈簧產生一個力,使閥芯向上或向下移動,從而使設定點壓力重新回到設定值。
三、安裝與維護
1、安裝
(1)檢查銘牌、實物是否與設計相吻合。
(2)檢查整機零件是否缺損與松動,必要時可再次進行強度、密封、泄漏與精度測試。
(3)在安裝前,應對管道進行清洗,閥門入口處要有足夠的直管段,并配有過濾器,閥體與管道的法蘭連接,要注意同軸度。
(4)安裝場地應考慮到人員設備的安全,便于操作,又有利于拆裝與維護。
(5)閥門應正立垂直安裝在水平管道上,不得已時可傾斜安裝,盡量避免水平安裝,閥自重較大或有振動的場合,要用支撐架。
(6)為使自控系統失靈或檢修閥門時,仍能連續生產,應設置旁路閥。旁路閥的流量特性與行程要與原來閥門選擇一致。
2、維護
(1)清洗閥門:對清洗一般介質,只要用水洗凈就可以。但對清洗有害健康的介質,首先要了解其性質,再選用相應的清洗辦法。
(2)閥門的拆卸:將外露表面生銹的零件先除銹,但在除銹前,要保護好閥座、閥芯、閥桿與推桿等精密零件的加工表面。拆卸閥座應使用專用工具。
(3)閥芯、閥座:兩密封面有較小的銹斑與磨損可用機械加工的方法進行修理,如損壞嚴重必須換新。但不管修理或更換后的硬密封面,都必須進行研磨。
(4)閥桿:表面損壞,只能換新。
(5)易損零件:填料、密封墊片與О形圈,每次檢修時全部換新。膜片必須檢查是否有預示將來可能發生裂紋、老化與腐蝕痕跡,根據檢查結果,決定是否更換,但膜片使用期一般為2~3年。
(8)閥門組裝要注意對中,螺栓要在對角線上擰緊,滑動部分要加潤滑油。組裝后應按產品出廠測試項目與方法調試。
(9)常見故障及排除方法見下表。

